近日,本田全新專利曝光,內容聚焦下一代 V4 引擎技術,顯示品牌正積極籌備新一代 V4 車型開發。這項專利包含多項創新技術,其中全新機油循環系統最受矚目 —— 據專利檔案說明,該系統能大幅降低機油泵運轉阻力,有效減少動力耗損,進一步最佳化引擎效能。

同時,專利檔案也揭露了新型缸頭固定方式,儘管專利圖以並列雙缸示意,實則屬 V4 引擎的技術模組。此外,專利中針對 V4 引擎散熱難題提出全新解方:透過特殊管路設計優化後缸散熱,這對長途騎乘時維持引擎效能穩定,具備顯著助益。

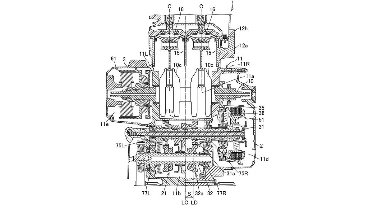
接觸過上一代 VFR1200F 的車友一定記得,該車引擎雖動力強悍,體積與重量卻相對龐大。從新專利圖可見,本田工程師決心為其減重,外殼設計更緊湊 —— 這得益于新式潤滑系統:曲軸箱內新增小型輔助儲油槽,最佳化發電機、水泵與離合器潤滑,縮短油道讓結構更精簡。

上一代 VFR1200 採 76 度氣缸夾角搭配 28 度曲柄銷設計,無需平衡軸即可抑制震動;但新專利中編號 26 的部件明確顯示平衡軸存在,氣缸夾角也趨近經典 90 度設定。
這意味新引擎將採均等點火間隔,能輸出傳統高頻聲浪,儘管需平衡軸輔助,卻能帶來截然不同的聲浪體驗。

文章未完,點擊下一頁繼續